產品概述:LT-5000L臥式儲罐采用進口耐酸堿PE原料,滾塑一次成型。產品適用于化工、電子、稀土、鈷鎳、冶金、醫藥、環保、染料等行業,能儲運絕大多數無機酸、堿、鹽類溶液和部分有機溶劑。我們在山東濰坊設有倉庫,庫存充足,能滿足您的購買所需,且售后服務到位,有任何問題均可及時解決,歡迎您來采購。
類屬于:PE臥式儲罐
所在地:山東濰坊
物流發貨:付款成功后3天內安排發貨
更新時間:2021-06-25 15:02
訪問量:77
主材選用進口聚乙烯塑膠原料(LLDPE) ,原料性質,耐酸耐堿,化學性質平衡。采用成熟的滾塑工藝整體一次成型,確保產品無焊縫,不含毒素無異味,耐酸堿,耐沖擊,加厚產品耐高溫80℃,耐低溫-40℃,不易老化,具有良好的衛生與抗紫外線能力。主體為臥式結構。一般產品顏色有白,藍,桔黃,黑等可按客戶要求定制,產品廣泛適用于化工、電子、稀土、鈷鎳、冶金、醫藥、環保、染料等行業,能儲運絕大多數無機酸、堿、鹽類溶液和部分有機溶劑。并可做為與非開挖設備泥漿混配的泥漿罐。

|
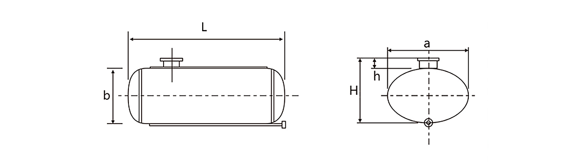
型號 Model |
a |
b |
L |
h |
H |
|
LT-850L |
1000 |
750 |
1350 |
50 |
1400 |
|
LT-1000L① |
1000 |
950 |
1500 |
50 |
1550 |
|
LT-1000L② |
950 |
750 |
1350 |
80 |
1350 |
|
LT-2000L① |
1230 |
1230 |
1800 |
80 |
1350 |
|
LT-2000L② |
1250 |
1390 |
1470 |
80 |
1350 |
|
LT-3000L① |
1230 |
1230 |
2600 |
80 |
1350 |
|
LT-3000L② |
980 |
1620 |
2300 |
40 |
1660 |
|
LT-3000L③ |
1200 |
1200 |
2580 |
10 |
1250 |
|
LT-4500L① |
1650 |
1250 |
2900 |
140 |
1390 |
|
LT-4500L② |
1230 |
1230 |
3850 |
80 |
1350 |
|
LT-5000L |
1700 |
1200 |
3600 |
140 |
1340 |
|
LT-10000L |
2000 |
1300 |
5100 |
150 |
1550 |
|
LT-12000L |
2000 |
1300 |
6030 |
150 |
1550 |
|
LT-15000L |
2000 |
1300 |
7380 |
150 |
1550 |
|
型號 |
規格 |
||
|
直徑 |
垂高 |
總高 |
|
|
LT-2000L |
1560*1470 |
1300 |
1390 |
|
LT-3000L |
2000*1520 |
1390 |
1480 |
|
型號 |
長 L |
寬 W |
高 H |
|
LT-60L |
500 |
410 |
430 |
